Infos
1 Haken mit Hakenbremse, mit Sicherung gegen ungewolltes Verrutschen, auf Tastendruck kann der Haken auf der Traverse verschoben werden, aus einem Stück geschmiedet
- Anzahl der Haken: 1
- Hakenbremse vorhanden: Ja
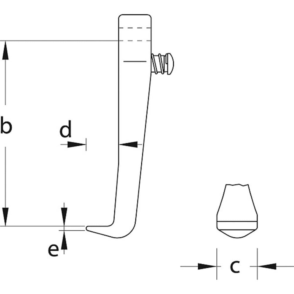
- Hakenfussbreite an der Nutzfläche c1 [mm]: 22 mm
- Hakenfussstärke an der Spitze e1 [mm]: 3 mm
- Hakenfusstiefe nutzbar d2 [mm]: 15 mm
- Inhalt (Anzahl Stück): 1 tlg.
- Netto-Gewicht [g]: 240 g
- Netto-Gewicht [kg]: 0,24 kg
- REACH Registrierung vorhanden: Nein
- Schnellspannhebel vorhanden: Nein
- Spannbügel vorhanden: Nein
- Spanntiefe nutzbar b [mm]: 100 mm
- Spindel Abrutschsicherung: Nein
- umdrehbare Arme vorhanden: Nein
- Ursprungsland: Deutschland
- Verwendung/Einsatz: 1.04/1A 1.04/HP1A
1.06/1 1.06/1A
1.07/1 1.07/1A - Zolltarifnummer: 82055980
Technische Daten
| Name | Wert |
|---|---|
| % SALE % | Nein |
| Hakenfussbreite (mm) | 22 |
| Hakenfusstiefe nutzbar (mm) | 15 |
| Marke | GEDORE |
| Spanntiefe nutzbar (mm) | 100 |
| Typ | 106/A-100-B |






